当前位置: 首页/九游会首页官网 /酸碱喷射器
储罐
一体化泵站
水处理过滤器
离子交换器
水处理设备配件
九游会官网在线 亮相第十七届上海国际水展,创新水科技引领绿色未来
九游会官网在线 2025年Q2销售集中营:赋能成长,共启新程
共融共通 共启水处理生态圈| 英诺格林成立20周年供应商大会定义水处理未来式
砥砺二十载,初心如磐;创变启未来,同行致远 | 集团公司英诺格林二十周年庆典圆满举行
融合 、提升、创新、求变-2025年Q1销售集中营圆满落幕
九游会首页官网
Product Center -
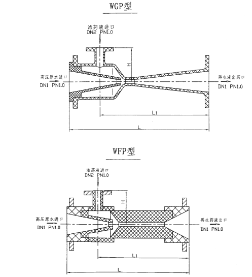
酸碱喷射器
2024-07-09 11:46:49
设备简介:
本喷射器是用于稀释再生液的专用设备。WGP型采用耐腐蚀型树脂为粘结剂,玻璃纤维为增强材料的耐腐蚀材料制造,氯化钠、氢氧化钠及盐酸溶液适用,介质温度不能高于50℃。WFP型用聚四氟乙烯材料制成,用于硫酸介质。
材质:
塑料(PP、PVC)、玻璃钢、钢衬塑、不锈钢等材质
设备照片:
酸碱喷射器尺寸规格表:
水箱
酸碱储罐
除氟过滤器
多介质过滤器
玻璃钢罐体
卧式过滤器